Description of EPT Series Electric Pallet Truck
The EPT Series Electric Pallet Truck is a compact and durable material handling solution designed for efficient and reliable operation. It features an integrated handle control module for easy use, a lithium battery system for safe and stable power, and an electrically integrated drive module with a simple and robust structure. With a high-strength chassis, oil-pipe-free hydraulic system, and intelligent CAN-BUS control for real-time monitoring and fault diagnosis, the EPT Series ensures long service life, safety, and excellent performance in various working conditions.
Details of EPT Series Electric Pallet Truck
▲ Overall simplification and long service life;
▲ The integrated control module of the handle makes operation more convenient;
▲ Lithium battery drive, safe and reliable;
▲ The driver module realizes electrical integration, has a simple structure, and is not easily damaged.


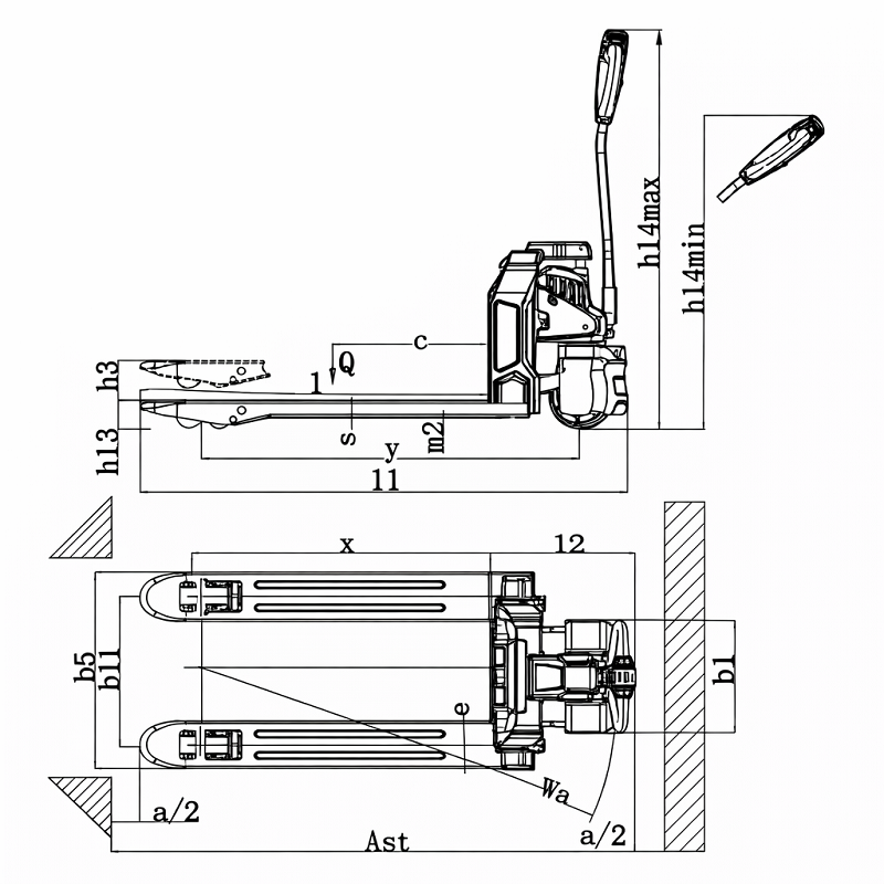
Technical Specification of EPT Series Electric Pallet Truck
| i-lift No. | Unit | 1213201 | 1213202 |
| Model | EPT15V | EPT20V | |
| Type | Electric | Electric | |
| Capacity | kg (lb.) | 1500 (3300) | 2000 (4400) |
| Load Center Distance | mm (in.) | 600 (23.6) | 600 (23.6) |
| Load Distance, Centre of Drive Axle to Fork | mm (in.) | 950 (37.4) | 950 (37.4) |
| Wheel Base | mm (in.) | 1270 (47.2) | 1270 (47.2) |
| Driving Wheel Size | mm (in.) | Ø210×75 (8.3×3) | Ø210×75 (8.3×3) |
| Roller Size | mm (in.) | Ø80×70 (3.1×2.8) | Ø80×70 (3.1×2.8) |
| Max. Fork Height | mm (in.) | 195 (7.7) | 195 (7.7) |
| Height of tiller in drive position Min./Max. | mm (in.) | 585 / 1250 (23 / 49) | 585 / 1250 (23 / 49) |
| Min. Fork Height | mm (in.) | 85 (3.3) | 85 (3.3) |
| Overall Length | mm (in.) | 1620 (63.8) | 1620 (63.8) |
| Length to Face of Fork | mm (in.) | 470 (18.5) | 470 (18.5) |
| Overall Width | mm (in.) | 550 / 685 (21.7 / 27) | 550 / 685 (21.7 / 27) |
| Dimension of Fork (s×e×l) | mm (in.) | 50×160×1150 (2×6.3×45.3) | 50×160×1150 (2×6.3×45.3) |
| Distance between fork-arms | mm (in.) | 550 / 685 (21.7 / 27) | 550 / 685 (21.7 / 27) |
| Ground Clearance | mm (in.) | 35 (1.4) | 35 (1.4) |
| Aisle Width for Pallets 1000×1200 Crossways | mm (in.) | 1820 (71.7) | 1820 (71.7) |
| Aisle Width for Pallets 800×1200 Crossways | mm (in.) | 1870 (73.6) | 1870 (73.6) |
| Turning Radius | mm (in.) | 1380 (54.3) | 1380 (54.3) |
| Travel Speed, laden / unladen | km/h | 4.2 / 4.5 | 4.2 / 4.5 |
| Max. Gradeability, laden / unladen | % | 6/10 | 6/10 |
| Drive Motor Power | kW | 0.75 | 0.9 |
| Lift Motor Power | kW | 0.5 | 0.5 |
| Battery Voltage, Nominal Capacity | V / Ah | 24 / 20 (30) | 48 / 15 (20) |
| Battery Weight | kg (lb.) | 5.5 (12.1) | 5.5 (12.1) |
| Net Weight (Without Battery) | kg (lb.) | 142 (312.4) | 145 (319) |

Main Feature of EPT Series Electric Pallet Truck
High strength chassis design
The high strength chassis and compact design ensure the long life and flexibility. Specifically supported by its perfect metal welding and bending technology, and metal toughness as well.
Variety battery capacity available
By pairing battery volumes and its chargers to match various work time demands.
Security and stability
The hydraulic lifting system of this vehicle adopts the design without oil pipe, which greatly improves the reliability of the hydraulic system and reduces the risk of oil leakage of the joint or oil pipe.
Intelligent control system
Equipped with CAN-BUS technology, automatically monitoring the status of the truck, and fault diagnosis.










